Opšte znanje o vazduhoplovu

/40
4

Opšte znanje o vazduhoplovu

Direktorat civilnog vazduhoplovstva
Republike Srbije

ispit u .PDF-u

1. Osnovni manometarski elementi instrumenata su

2. Osobina kompasa da daje pogrešne indikacije kada je jedrilica u zaokretu je posledica
vertikalnog privlačenja koje se naziva

3. Na slici br.1 su označeni glavni konstrukcioni delovi krila i to:

slika 1

4. Uloga repnih površina je da

5. Šta pokazuje komad vunice zalepljen na kabinu ispred pilota?

6. Trimer ima ulogu da

7. Instrument na jedrilici koji pokazuje brzinu penjanja ili spuštanja naziva se

8. Prema tipu strukture, konstrukcije krila možemo da podelimo na sledeće vrste

9. Sa koliko najmanje satelita GPS treba da primi podatke da bi pokazao visinu

10. Žiroskopski instrumenti poseduju mehanizam koji se naziva žiroskop i koji je

11. Klasifikacija jedrilica se vrši prema njihovoj nameni na:

12. Kabina jedrilice je deo konstrukcije koji služi

13. Glavna ramenjača je

14. Rebra su deo krila koja imaju zadatak da

15. Okovi su elementi konstrukcije koji

16. Torziona kutija je

17. Sa koliko najmanje satelita GPS treba da pimi podatke da bi pokazao geografske koordinate

18. U kom pravcu magnetski kompas pokazuje skretanje kada se u zaokret ulazi iz pravca severa?

19. Aktuelna visina jedrilice iznad terena se naziva

20. Klasifikacija instrumenata prema osnovnom mehanizmu su

21. Magnetski kompas se može koristiti da bi se pratio stvarni kurs samo ako su urañene
potrebne korekcije za magnetnu _______ i kompasnu _________ .

22. Instrument GPS (dži, pi, es) za pokazivanje podataka koristi

23. Srce pitostatičkog sistema je metalni meh koji se naziva

24. Instrument za beleženje pritiska koji se koristi da bi se dobio zapis o visinama na osnovu pritiska naziva se

25. Klasifikacija instrumenata prema principu rada je zasnovana na

26. Klasifikacija instrumenata po nameni

27. Koje podatke može da pokaže GPS

28. Na slici br.4 je prikazan instrument

slika 4

29. Po tipu konstrukcije, trupove jedrilica delimo na

30. Trup služi za:

31. Primarnoj grupi instrumenata na komandnoj tabli pripadaju instrumenti

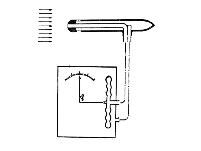
32. Na slici br.3 je šematski prikazan instrument

slika 3

33. Stvarna brzina jedrilice kroz vazduh se naziva

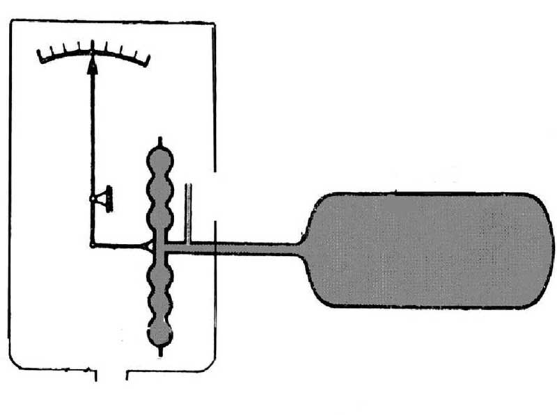
34. Na slici br.2 je šematski prikazan instrument

slika 2

35. Kao konstruktivni materijali koriste se

36. Šta pokazuje instrument sa metalnom kuglicom na instrument tabli.

37. Posmatrajući sliku br.6 odredite na koju stranu zaokreta jedrilica klizi.

slika 6

38. Na slici br.5 je šematski prikazan instrument

slika 5

39. Posmatrajući sliku br.7 odredite na koju stranu zaokreta jedrilica klizi.

slika 7

40. Torziona ramenjača ima ulogu da

Your score is

0%